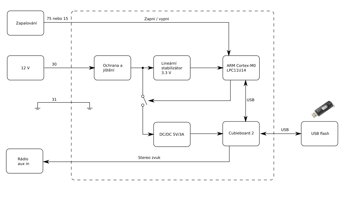
toto je můj první příspěvek, tak se omlouvám pokud je to blbě zařazené. Pracuji na vlastním MP3/cokoliv přehrávači do auta. V podstatě to bude takový mini-počítač s Linuxem s audio výstupem napojeným na aux in rádia.
Proč to dělat tak složitě a nekoupit hotové řešení? Ehm, mám do budoucna výrazně větší plány
Narážím ale na jeden problém, ve schématu FF2_el_schemata_2007.pdf se víceméně orientuji, ale nemám nejmenší ponětí kde jaký konektor v autě najdu. Dokázal by mi prosím někdo poradit kam mou elektroniku nejlépe připojit?
Potřebuji:
* Nespínané napájení z baterie - asi 30
* Signál o tom že zapalování není v poloze vypnuto - asi 75 nebo 15
* Zem - asi 31
Později se budu potřebovat napojit i na MS-CAN, tedy pokud to má smysl. Předpokládám že tam budou chodit zprávy o tlačítkách pro ovládání rádia na volantu. Ověřené to ale nemám.
Díky




