Stránka 20 z 35
Re: jaké ET ?
Napsal: 25.06.2009 22:02
od tomason
já mam 42,5 ET a je to akorát FII jen předek nahazuje v létě asfalt na boky budu muset pořešit zástěry

dokonce 43 sem si to nějako poplet
Re: jaké ET ?
Napsal: 25.06.2009 22:56
od 321momo123
JAk hovoris mne to ide zarovno vrchnych lemov a boky mam cele od blata a co ja viem hold kdo chce na sirokych chodit musi tolerovat , ale ak by sa to dalo riesit tymi blatnickami vyriesit tak by som bol mile rad
Re: jaké ET ?
Napsal: 17.07.2009 13:33
od Kroco02
Takze ten rozmer 6,5Jx16H2 ET46 by mel byt v pohode a nemel by skrtat v blatnicich? Mam jedny takove vyhledle, vidim, ze jste to kousek nahoru resili, ale radsi se ptam jeste jednou, at mam jistotu..Diky
Re: jaké ET ?
Napsal: 17.07.2009 13:39
od zirafak
Uplne v pohode za predpokladu predpisanych pneu

Re: jaké ET ?
Napsal: 17.07.2009 16:54
od Kroco02
205/55/R16,nemylim-li se..diky
Re: jaké ET ?
Napsal: 17.07.2009 18:56
od zirafak
sa mylis

205-50-16 zneje lepsejsie

Re: jaké ET ?
Napsal: 17.07.2009 23:32
od Kroco02
Safra, dival jem se na
tento topic a nevsiml si, ze je to 2004>...To jsi me nepotesil, protoye pneu v 50 stoji o 500 vic jak v 55..kua, myslis ze by ty 55 nesli? ty dva litry navic jsou pro me hodne!!

Re: jaké ET ?
Napsal: 18.07.2009 22:17
od zirafak
precitaj si toto vlakno,lebo uz som to tu ozaj opaxoval xxxx krat

Re: jaké ET ?
Napsal: 19.07.2009 09:48
od vilik 24
Tak jsem to tady pročet všechno,ale moudrej s toho nejsem

Může někdo prosím napsat jaké ET můžu použít při rozměru kola 6Jx15.Rád bych dodržel předepsané rozměry,ale ET 47,5.50.a 52,5 se mi zdaj moc utopený.Pneu bude samozřejmě 195/60 15.Toto je velká alchymie.

.Díky za odpověď.
Re: jaké ET ?
Napsal: 19.07.2009 12:42
od MK2
Co je ET?
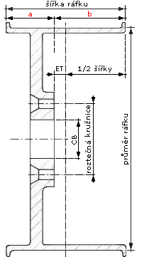
Tzv. "zális" neboli „ET“ (z něm. Einpresstiefe) je vzdálenost mezi rovinou procházející středem disku a rovinou dosedací plochy disku. Udává se v milimetrech. Čím větší je hodnota ET, tím více je kolo schováno v blatníku. Čím menší je hodnota ET, tím více kolo vystupuje z blatníku.
Příklad:
ET45 = kolo je hodně schováno v blatníku
ET0 = kolo vystupuje až k okraji blatníku
Doporučené rozměry disků:
Focus 1 (1999-2004) rozteč 4x108
5,5Jx14 ET 43,5
6Jx15 ET 52,5/50,0/47,5
6Jx16 ET 52,5
7Jx17 ET 49
Focus 2 (2004-2010) rozteč 5x108
6Jx15 ET 52,5
6,5Jx16 ET 52,5/50,0/47,5
7Jx16 ET 50
6,5Jx17 ET 52,5
7Jx17 ET 50
7,5Jx18 ET 52,5
8Jx18 ET 52,5 (ST)
Je možno použít i jiné než doporučené ET. Od ET 38 až do 52,5 (dle disku) je možno použít na Focusech bez problémů při zachování
doporučených rozměrů pneumatik.
Pokud si nejste jisti, změřte si vzdálenost kola od blatníku, zadejte hodnoty svého disku a disku, který chcete koupit, do
této kalkulačky a následně si pak změřte jestli se vám vleze kolo do blatníku.

- rafek.gif (7.4 KiB) Zobrazeno 7314 x
Technické info
Re: jaké ET ?
Napsal: 19.07.2009 18:09
od vilik 24
Aha,takže jestli tomu dobře rozumim můžu použít při předepsaném rozměru ráfku 6Jx15 a předepsaném rozměru pneu 195/60 15 ET od 38 do 52,5 a nebude mi to nikde škrtat o brzdy,nebo mi to nepoleze z blatníku.
Pokud je to tak,tak je to to co jsem chtěl vědět.Ďekuji za vyčerpávající informace.

Re: jaké ET ?
Napsal: 20.07.2009 14:51
od vilik 24
vilik 24 píše:Aha,takže jestli tomu dobře rozumim můžu použít při předepsaném rozměru ráfku 6Jx15 a předepsaném rozměru pneu 195/60 15 ET od 38 do 52,5 a nebude mi to nikde škrtat o brzdy,nebo mi to nepoleze z blatníku.
Pokud je to tak,tak je to to co jsem chtěl vědět.Ďekuji za vyčerpávající informace.

Prosím ještě o reakci Zirafaka.Díky.
Re: jaké ET ?
Napsal: 20.07.2009 18:50
od zirafak
Ta 38-micka bude uz ozaj hranicna a mozno v ozaj extreme si liznes pri prepruzeni o podblatnik.Pre totalny klud by som nesiel pod 40

Re: jaké ET ?
Napsal: 20.07.2009 19:15
od vilik 24
Mockrat děkuju,budu se tvojí radou řídit.

Re: jaké ET ?
Napsal: 26.08.2009 21:07
od vilik 24
Zdravím,co říkáte na 6.5j16 et37.Má někdo takový kola?Jak to na autě vypadá?Nedře to někde?Rád bych koupil 15"et tak kolem 43,ale moc toho na výběr není.Tak musím brát co je,nový kola kupovat nechci.
Děkuju za každou radu.